摘 要 风光储多能互补能源系统可充分利用可再生能源提高供能的经济性和环保性。本文提出了一种风光储多能互补能源系统,建立了系统的能量模型;综合考虑系统运行的经济性和环保性,提出了系统综合成本和碳排放量最低的目标;开发了改进型非支配遗传算法求解仿真模型,得到了多目标问题的帕累托最优解集,并通过逼近理想解排序法获得了系统的最优容量配置运行方案;利用线性规划软件CPLEX求解器开展了系统的运行调度优化,验证了该系统框架和优化调度模型的有效性和正确性。研究结果表明,本文所提出的风光储多能互补能源系统容量配置优化方法有效提高了可再生能源利用率,实现了经济成本和碳排放量最低,提高了系统的经济性和环保性。本文为可再生能源系统实现持续稳定可靠的供能和园区的低碳化转型提供了参考。
关键词 多能互补;风光储;容量配置;调度策略;多目标优化
“双碳”目标的实现是一场能源革命,它不断提高可再生能源比例,构建传统能源与可再生能源融合发展的新型能源体系。以太阳能、风能为代表的可再生能源利用得到了快速的发展,我国光伏、风力发电装机规模达到世界第一。
在能源问题方面,可再生能源一定程度上缓解了日益严峻的能源短缺问题;在环境保护方面,它也是“双碳”重大战略目标实现的重要途径。以太阳能、风能等可再生能源为主要能源的多能互补能源系统得到了广泛的重视与研究,它打破了传统单一能源供应独立规划、设计和运行的既有模式,通过供能和用能系统的协调配合,实现了可持续发展。但是,可再生能源具有间歇性、不稳定性、不可控性的特点,接入电网后对主能源系统冲击大,需要在此之前开展有效的组织利用形式探讨。虽然可利用多种资源的互补性一定程度上缓解能源供应的不稳定性,但仍然迫切需要储能、多能互补能源系统容量配置优化方法等技术实现可再生能源连续、稳定、可控的能量输出。
风光储多能互补能源系统的能量来源多,可以满足用户用能需求的多元化,系统的集成配置优化一直备受关注。系统容量配置优化方法的目标之一是将系统收益最大化。Moghaddam等进行了大量研究,将综合能源系统收益最大化作为首要目标,将综合能源储能系统的运行策略升级换代。Omran等讨论分析了多种平抑光伏功率波动措施的预期收益,整合分析出经济性最优的组合方式。Kaabeche等考虑到了上述学者未提及的缺电概率以及平均发电成本等影响因素,优化算法迭代计算得到了以实现风、光、柴、储的最佳容量配置的模型。Sfikas等通过研究分析综合能源系统中风、光各能源子系统的最优配比,解决了储能减少、风电前期规划与实际发电之间的误差损耗等相关问题。Mahdavi等充分考虑了综合能源储能系统内供电价格发生变化后输入新能源光伏产生收益的情况,提出了一种最佳容量配置模型。徐林等基于分时电价差异化使风、光、储多能源系统协调统一,采用一种分时优化策略,实现了一种改进型综合能源系统容量优化配置方法。祝荣等构建了一种集可再生能源输出功率不确定性模型、柔性负荷模型和储能设备模型于一体的工业园区风光储一体化综合能源系统模型,以运行成本最低为目标,利用商业求解器CPLEX进行求解。结果表明,所建立模型有效提升了系统的运行经济性及可再生能源消纳能力。郭进等提出了一种适用于青藏高原地区的风光柴互补能源系统,并结合当地的风能和太阳能资源分布情况,对系统进行优化设计和能源管理策略制定。李彦哲等提出了一种新型风光储并网型微电网结构,该微电网结构储能系统包含氢储能和蓄电池双重储能等多种储能方式,考虑了微电网系统运行的经济、环境效益,将降低系统总体运行的净现值成本作为目标,这种微电网结构利用HOMERPro软件计算得出优化储能配置,通过评估可再生能源利用率和负荷缺失率判断达标情况。此外,随着分布式电源和波动负荷在电网中的渗透率不断增大,供电系统的不确定性显著增加,已不再满足要求传统的确定性无功优化条件。尹青等提出的概率无功优化模型和调度方法有效地解决了不确定性与调度计划的具体确定性之间的矛盾,提高了求解效率。
随着多能互补能源系统的发展,优化目标也随之多样化,不仅关注单目标优化,而且多目标优化也是研究的热点之一。梅书凡等提出了一种考虑可再生能源出力和负荷需求季节性波动的储能优化配置方法,从储能全生命周期收益和风光综合利用率角度对储能的容量和功率进行优化配置。结果表明,此方法不仅可保障储能经济性,还可进一步提升可再生能源利用率。张歆蒴等以弃风弃光量最小和梯级水电蓄能最大为目标构建优化调度模型,通过改进逐步优化算法进行了大型风光水互补发电优化调度研究,结果表明利用梯级水电站的调蓄能力可以有效调节补偿大规模的风电和光电出力波动。黄文龙等构建包含光伏、风电及储能的并网多能互补能源系统,通过部分市网供电及“隔墙售电”消纳改进其容量配置和调度优化模型,对园区的全生命周期碳排放量进行计算,确定系统经济性和碳排放参数的影响规律。邵志芳等构建含风力、光伏、火电、储电单元、电解制氢、燃料电池的多能互补供电系统模型,以系统运行累计净现值最大为优化目标,同时考虑系统运行稳定性和负荷满足率,利用量子粒子群算法求解,对系统组件进行容量配置优化。结果显示,优化配置后的多能互补供电系统具有较好的经济性和负荷曲线一致性。吴克河等把新能源和储能装置当成微型单元,通过整合并网系统内的所有单元,在确保发电单元输出稳定以及满足物理和能源利用效率的约束条件下,运用遗传粒子群算法给出了在给定容量下发电单元的最佳配置方案。谭岭玲提出多能互补型微电网的结构,在约束条件中加入失负荷率对微电网进行配置。在上述文献研究中,以等值年总成本作为规划配置的优化目标,采用粒子群算法,进行多能互补型微电网的最优配置,解决了微电网双目标冲突的问题。但是,大多从单一角度出发,对能源系统的优化设计未能综合考虑系统总成本和碳排放量;或尚未考虑设备采用不同装机容量对系统综合运行成本的影响,或采用的是传统容量优化配置方法,并未提出多种不同容量优化配置方案对系统综合运行成本进行对比分析。
因此,针对上述问题,为实现多能互补能源系统的高效经济利用和容量配置优化,本文以北方某园区为例,对风光储多能互补能源系统的规划优化问题进行了研究和分析,提出了一种风光储多能互补能源系统,建立了风光储多能互补能源系统的能量模型。在此基础上,开展能源系统容量配置优化研究,综合考虑系统运行的经济性和环保性,提出多能互补能源系统协调优化策略,建立多目标规划优化模型。最后,通过智能算法对模型进行了求解,得到了综合性最佳的风光储多能互补能源系统容量配置方案,为风光储多能互补能源系统建设规划和工业应用提供参考和指导。
1 风光储多能互补能源系统结构与能量模型
1.1 系统结构
本文针对北方地区供暖供电需求提出了风光储多能互补能源系统,如图1所示。该系统包含光伏发电机组、风力发电机组、燃气轮机、储电单元、槽式太阳能集热系统、蓄热单元、电加热器、余热锅炉、燃气锅炉以及集成控制系统。系统运行时,采用以热定电的运行模式,在全方位保障供电和热量供应的前提下充分利用风光等可再生能源。

系统供电时,以光伏发电和风力发电为主电源,储电单元用以稳定系统输出和平抑负荷,燃气轮机作为备用电源。用电低谷时,可再生能源产生的电量直接供用户使用,多余电量优先存储在储电单元中,若仍有剩余则使用电加热器加热进行热量补充;用电高峰时,主电源首先保证用户需求,不足时储电单元进行补充,储电单元不足时启动燃气轮机,并从经济性和环保性的角度考虑是否从电网购电。
系统供热时,以槽式太阳能集热系统作为主热源,余热锅炉、电加热器为辅助热源,燃气锅炉为备用热源。用热低谷时,可再生能源产生的热量直接供用户使用,槽式太阳能集热系统、余热锅炉、电加热器产生的多余热量储存于蓄热单元;用热高峰时,槽式太阳能集热系统、余热锅炉、电加热器、蓄热单元产生的热量供给不足时,由燃气锅炉补充。
1.2 能量模型
为了开展能源系统容量配置优化研究,本文建立了风光储多能互补能源系统的能量模型,主要包括以下部分。
1.2.1 光伏发电模型
光伏发电机组输出功率通常取决于当地太阳辐射强度,因此结合太阳辐射强度的数据进行精确计算,其计算公式方法见式(1)~式(2)。

1.2.2 风力发电模型

1.2.3 燃气轮机模型
燃气轮机发电量是根据用户电负荷和可再生能源发电量确定所需的发电量,其计算方法见式(4)~(9)。


1.2.4 储电单元模型
储电单元种类丰富,与传统铅酸电池相比,铅炭电池通过在铅酸电池负极中加入活性碳材料来提高电池的性能,循环寿命提高了3倍,充电速度提高了8倍,放电功率提高了3倍,具有性价比高、安全稳定等优点。考虑到放电性能、使用寿命和安全稳定性等方面,选用铅炭电池。铅炭电池的充电和放电过程的数学模型计算方法见式(12)~(14)。

1.2.5 槽式太阳能集热器模型
集热效率是槽式太阳能集热器性能的重要指标,表征了槽式太阳能集热器对太阳辐射的利用率,槽式太阳能集热器的出力模型可以用式(15)表示。

1.2.6 燃气锅炉模型

1.2.7 蓄热单元模型

2 系统容量配置优化方法
2.1 多能互补能源系统协调优化策略
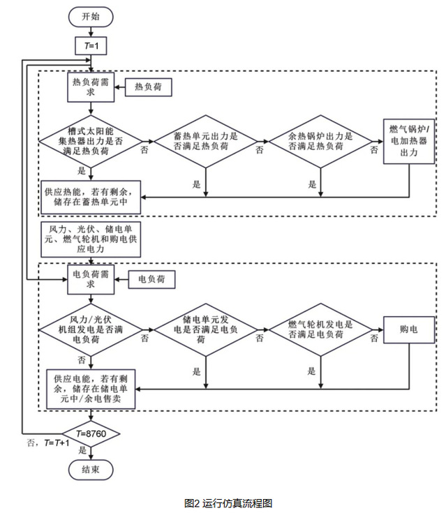
图2为多能互补能源系统协调优化仿真流程。供热子系统需要满足供热负荷,并将多余的热量储存于蓄热单元中。当槽式太阳能集热器无法满足热需求时,蓄热单元释放热量进行补充;若热负荷仍未得到满足,则启用余热锅炉,若仍不足,进而启动燃气锅炉和电加热器。供电子系统负责满足系统的供电需求。对比风力发电、光伏发电和燃气轮机产生的电量与系统的供电需求,储能系统依据内部运行策略执行充电或放电操作,而电网作为供电系统的辅助电源,确保在电量过剩或不足时进行供电的买卖。

2.1.1 供电子系统规划设计
供电系统旨在满足终端用户即需求方的供电负荷,其中电能的主要来源包括风力发电、光伏发电及燃气轮机。风力发电机组和光伏发电机组的发电能力受到风速和太阳辐射强度的直接影响。同时,储能电池根据综合能源系统内部的负荷差异以及预先设定的充放电策略进行操作,调整了多能互补能源系统内部的负荷平衡,进而在供电子系统与外部电网之间进行有效互动与调节。在供电子系统中,功率平衡的维持可以通过式(19)表示。

2.1.2 供热子系统规划设计

2.2 多能互补能源系统多目标规划优化模型
2.2.1 目标函数
多能互补能源系统多目标优化模型以经济性与碳排放量作为计算指标制定目标函数。
(1)系统年总成本



2.2.2 约束条件
(1)设备的输出限制
考虑到占地面积及系统的热电负荷需求存在最大值,根据多能互补能源系统的经济运行目标,选择典型日为代表,优化求解得到设备配置方案。上述装机容量需要满足一定的约束条件,其表达方法如式(28)~式(33)。

3 多能互补能源系统容量配置分析
以我国北方某园区为例,采用改进型非支配遗传算法(NSGA-II)和逼近理想解排序法(TOPSIS)对多能互补能源系统容量配置和优化调度模型进行模拟仿真计算,基于系统低成本运行和环境友好的多目标优化分析,研究确定了该系统的综合性最优容量配置方案。
3.1 系统模拟仿真参数
3.1.1 可再生能源参数
案例分析对象的可再生参数选用《中国建筑热环境分析专用气象数据集》典型气象年,如图3和图4所示。该地区在春季和夏季的太阳能辐射尤为强烈,特别是在夏季,光照强度分布为密集状。在春季和夏季的风速相对较低,峰值风速未超过15 m/s,且通常维持在10 m/s以下;相较之下,在秋季和冬季,风速显著增加,最高风速能够达到25 m/s。


3.1.2 负荷参数
本文利用HDY-SMAD软件进行负荷模拟,充分考虑建筑能耗、工业活动能耗、生产生活能耗,得到全年8760 h的热、电负荷数据,如图5和图6所示。12月至次年2月最高热负荷达到450 kW,其余热负荷处于较低水平;6月至8月的电负荷显著高于9月至次年2月的电负荷,最高电负荷达到315 kW。


3.1.3 经济与技术参数
系统配置容量的优化通过设定两类参数进行:一类为经济技术参数,另一类为优化参数。所采用的多能互补能源系统的天然气价格为2.45 CNY/m2,以天然气的低热值9.78 kWh/m3为基础进行功率转换。关于能源系统的具体分时价格参见表2。

注:平段为06:00—08:00、12:00—16:00、20:00—22:00;高峰为08:00—12:00、16:00—20:00;低谷为22:00—06:00。
在本系统的设备容量规划中,纳入了生命周期、初始投资、运营、维护以及置换成本等经济参数,同时考量了额定功率和效率等技术参数。表3列出了主要设备的技术参数,表4展示了经济参数。对于所提到的多能互补能源系统,其使用寿命被设定为20年,通货膨胀率及残值率均为5%。除了储电单元和蓄热单元,因其周期性充放电行为设定的使用期限为10年,其他设备均有20年的使用寿命。因此,对于储能设备,需考虑置换成本。同时,天然气燃烧产生的直接碳排放因子以及从电网购入供电的间接碳排放因子均在表3中给出。

表4 主要设备经济参数

注:本文定义的运行成本涵盖了系统的日常运行、人力成本等折算后的费用,而天然气使用设备的消耗费用则单独计算。在表格中提及的燃气轮机和燃气锅炉运行成本不包含天然气的用气成本。
3.2 多能互补能源系统多目标容量配置最优结果解集
鉴于应用对象最高用电负荷为315 kW,考虑到多能互补能源系统中清洁能源出力的波动性,过分依赖单一能源会导致整个系统供能稳定性下降,需要规模合适的多种设备配置容量。因此,光伏机组容量配置边界和风力机组容量配置边界均设置为300 kW。
在本文中,系统的模拟仿真时间为8760小时,以1小时为时间步长;采用了NSGA-Ⅱ进行多目标优化,初始种群规模设为100,最大迭代次数限制为100次,交叉概率定为0.9,变异概率设定为0.1,以及优秀种群比例定在0.3,具体优化参数可见表5。

3.3 结果及分析
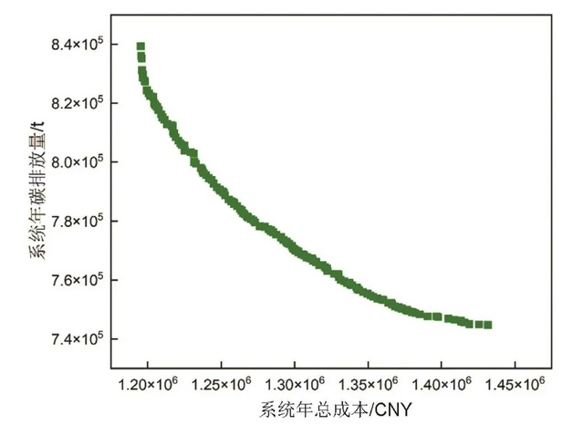
通过NSGA-Ⅱ100次迭代计算,产生了155组属于帕累托前沿的解集,即最优系统年总成本与系统最优年碳排放量,如图7所示。两个目标函数之间存在明显的负相关性。因此,需要结合逼近理想解排序法确定能互补能源系统的综合性最佳优化配置方案。

图7 全年电负荷帕累托最优解集
对获得的帕累托前沿解集进行标准化处理,消除量纲的影响;之后设置配置方案决策权重,从而最终确定容量最佳匹配方法。本文以经济性与碳排放量作为计算指标制定目标函数,两者重要性一致,权重均设为0.5。此外,设定了两个对照组,一个对照组偏向于经济性(权重设为1,0),另一个偏向于最小化碳排放量(权重设为0,1)。3种权重配置方案的详细信息见表6。

3个方案的目标函数值如表7所示。经济性最佳的方案在帕累托解集中显示出最低的年度总成本,该成本比综合性最佳容量配置方案低了5.76%,然而这导致了最不理想的碳排放性能;而在碳排放最佳的方案中,尽管实现了最低的碳排放量,但以牺牲系统整体经济性为代价,使得年度成本比综合性最佳容量配置方案高出12.87%。综合性最佳容量配置方案相较于仅考虑经济性的方案,环境友好程度更高,碳排放量降低了6.92%;相较于仅考虑碳排放量的方案经济性更优,年成本降低了11.41%。

在通过NSGA-Ⅱ和TOPSIS方法的联合优化后,依据所确定的最佳容量配置方案的目标函数值,确定了系统优化配置结果,如表8所示。方案中,光伏、风力发电机组和槽式太阳能集热器皆配置至其最大容量,这一策略的优势在于风电和光伏均属于清洁能源机组,且与燃气轮机相比,这三者的投资成本和运维成本显著较低。同时,利用风电和光伏能显著减少从电网购买的电量,利用太阳能可显著减少传统能源供热量,降低多能互补能源系统的投资成本,也减少了碳排放量,具备明显的经济效益和环境效益。此外,最优方案中配置了相对较高的储电单元容量,这主要是因为储电单元能充分利用分时电价,显著降低系统的运营成本,并且在使用储电单元进行调峰时不产生碳排放。燃气轮机利用天然气作为燃料,可进行余热回收利用和发电,产生的供电可以满足当地供电负荷需求,从而降低配电网的输电负担和下网电量。

4 基于源荷平衡的多能互补能源系统优化调度分析
4.1 冬季典型日分析
冬季的典型日的电负荷和热负荷如图8所示。从图8可以看出,18∶00电负荷的最大值为190.12 kW,2∶00电负荷最小值为69.14 kW;16∶00热负荷的最大值为379.83 kW,5∶00热负荷的最小值为164.06 kW。

图8 冬季典型日的电热负荷
图9为最优配置方案下冬季典型日的供电子系统出力图。冬季典型日电负荷较小,在充分利用风光资源的前提下,将多余的可再生能源电力储存起来,用于平抑其他时段的电负荷需求,电量富余时进行电加热器加热。5∶00—16∶00,可再生能源出力大于电负荷需求,多余的电量存储在储电单元中,最大储电功率为56.68kW;17∶00—22∶00,储电单元放电,与可再生能源发电一起保障电负荷;2∶00—5∶00、23∶00—24∶00,电负荷较小,多余的电量进行电加热器加热,电加热器最大出力为52.41 kW。

图9 冬季典型日的供电子系统出力
图10为最优配置方案下冬季典型日的供热子系统出力图。由于冬季典型日热负荷较大,因此在充分利用风光资源的前提下,由清洁能源槽式太阳能集热器优先供热,燃气锅炉作为补充,考虑到余热锅炉运行成本较高,结合冬季电负荷需求特性,适当开启余热锅炉,最后在风力出力较旺盛的时段,采用电加热器加热进行热量补充。冬季热负荷需求旺盛,而电负荷需求一般,全天开启燃气锅炉满足热负荷需求,燃气锅炉最大出力为278.22 kW。2∶00—5∶00、23∶00—24∶00,可再生能源电量进行电加热器加热。

图10 冬季典型日的供热子系统出力
4.2 过渡季典型日分析
过渡季典型日的电负荷和热负荷如图11所示。从图11可以看出,15∶00电负荷的最大值为223.62 kW,3∶00电负荷的最小值为81.32 kW;18∶00热负荷的最大值为183.99 kW,3∶00热负荷的最小值为13.72 kW。

图11 过渡季典型日的电热负荷
图12为过渡季节典型日的供电子系统出力图。在充分利用风光资源的前提下,将多余的可再生能源电力储存起来,用于平抑其他时段的电负荷需求。在其他时段,由储电单元放电提供电力,在需求紧缺的情况下,开启燃气轮机补充电源电力。2∶00—7∶00,可再生能源出力大于电负荷需求,多余的电量存储在储电单元中,最大储电功率为113.25 kW;9∶00—14∶00和19∶00—21∶00储电单元放电,提供电力支持;8∶00—10∶00和16∶00—23∶00可再生能源出力下降,供电出现少量缺口,由燃气轮机发电补充电源电力。

图12 过渡季典型日的供电子系统出力
图13为最优配置方案下冬季典型日的供热子系统出力图。由于过渡季典型日电负荷和热负荷都适中,在充分利用风光资源的前提下,由清洁能源槽式太阳能集热器优先供热,余热锅炉和燃气锅炉作为补充热源。11∶00—15∶00槽式太阳能集热器供热可以完全满足热负荷的需求,多余的热量存储在蓄热槽中;16∶00—19∶00采用蓄热单元放热进行热量补充;8∶00—10∶00、16∶00—23∶00余热锅炉进行热量补充,最大出力为24.08 kW;19∶00—次日10∶00燃气锅炉进行热量补充,燃气锅炉最大出力为159.13 kW。

图13 过渡季典型日的供热子系统出力
4.3 夏季典型日分析
夏季典型日电负荷和热负荷,如图14所示。从图14可以看出,14∶00电负荷最大值为295.23 kW,2∶00电负荷最小值为113.75 kW;20∶00热负荷最大值为167.75 kW,3∶00热负荷最小值为18.58 kW。

图14 夏季典型日的电热负荷
图15为夏季典型日的供电子系统出力图。夏季典型日电负荷较大,在充分利用风光资源的前提下,将多余的可再生能源供电储存起来,用于平抑其他时段的电负荷需求。在其他时段,由储电单元放电提供电力,在需求紧缺的情况下,开启燃气轮机补充电源电力。3∶00—7∶00、13∶00—16∶00,可再生能源出力及电价低谷期的购电量大于电负荷需求,将多余的电量存储在储电单元中,最大储电功率为80.06 kW;8∶00—10∶00、18∶00—和22∶00储电单元放电,提供电力支持。

图15 夏季典型日的供电子系统出力
图16为最优配置方案下夏季典型日的供热子系统出力图。在充分利用风光资源的前提下,由清洁能源槽式太阳能集热器优先供热,余热锅炉和燃气锅炉作为补充,结合夏季电负荷需求较高的特性,优先开启余热锅炉进行热量补充。余热锅炉最大出力为24.075 kW。燃气锅炉最大出力为101.34 kW。15∶00—18∶00槽式太阳能集热器的出力多于热负荷,多余的热量存储于蓄热槽中;19∶00—22∶00蓄热槽放出热量,供给用户用热需求。

图16 夏季典型日的供热子系统出力
5 结论
为了实现可再生能源系统连续、稳定、可控、高效的能量供给,本文开展了风光储多能互补能源系统容量配置研究,构建了风光储多能互补能源系统的框架,建立了系统及其关键部件的能量模型,定义了系统综合成本和碳排放量最低的优化目标函数及其约束条件,提出了基于NSGA-II的多目标优化模型并采用TOPSIS决策分析求解方法,得到以下结论。
(1)建立的风光储多能互补能源系统多目标优化模型及其求解方法,实现了在综合考虑经济性与碳排放量最小化目标的约束下的系统最优化配置,确定了光伏发电机组、储电单元、槽式太阳能集热器、燃气轮机机组、风力发电机组、燃气锅炉、电加热器及蓄热槽单元等关键部件最佳容量配置,完成了基于源荷平衡的多能互补能源系统调度分析。
(2)基于NSGA-Ⅱ的多目标优化规划模型产生了155组属于帕累托前沿的解集,通过TOPSIS决策分析方法得到了的综合性最佳容量的配置方案,该方案相较于仅考虑经济性的方案,碳排放量降低了6.92%,相较于仅考虑碳排放量的方案年成本降低了11.41%。
(3)冬季典型日具有电负荷较小、热负荷较大的特点,风光储多能互补能源系统实现了富余可再生能源电能和热能储存,用于平抑其他时段的负荷需求,最大储电功率为56.68 kW,最大电加热功率为52.41 kW;过渡季典型日和夏季典型日具有电负荷较大、热负荷较小的特点,系统富余电量存储在储电单元中,用于满足用电峰值负荷,最大储电功率分别为113.25 kW和80.06 kW。